
While Shimano has never been one to follow the immortal words of Talladega Night’s Ricky Bobby (“If you ain’t first, you’re last.”), they always eventually come around. As recently approved patents first reported on by CyclingTips now show, Shimano is finally joining the ranks of the wireless 12-speed shifting army with their own version. The best news? The patents for Shimano’s Dura-Ace Di2 wireless 12-speed shifters already include some multisport love with sketches of integrated base bar brakes/shifters.
Now this doesn’t necessarily mean we’ll see the shifters on virtual shelves soon (or ever), as bike brands are known for submitting patents for things that never see the light of day, but it’s no leap to say that Shimano needs to go to 12 if they’re to keep pace with the competition.
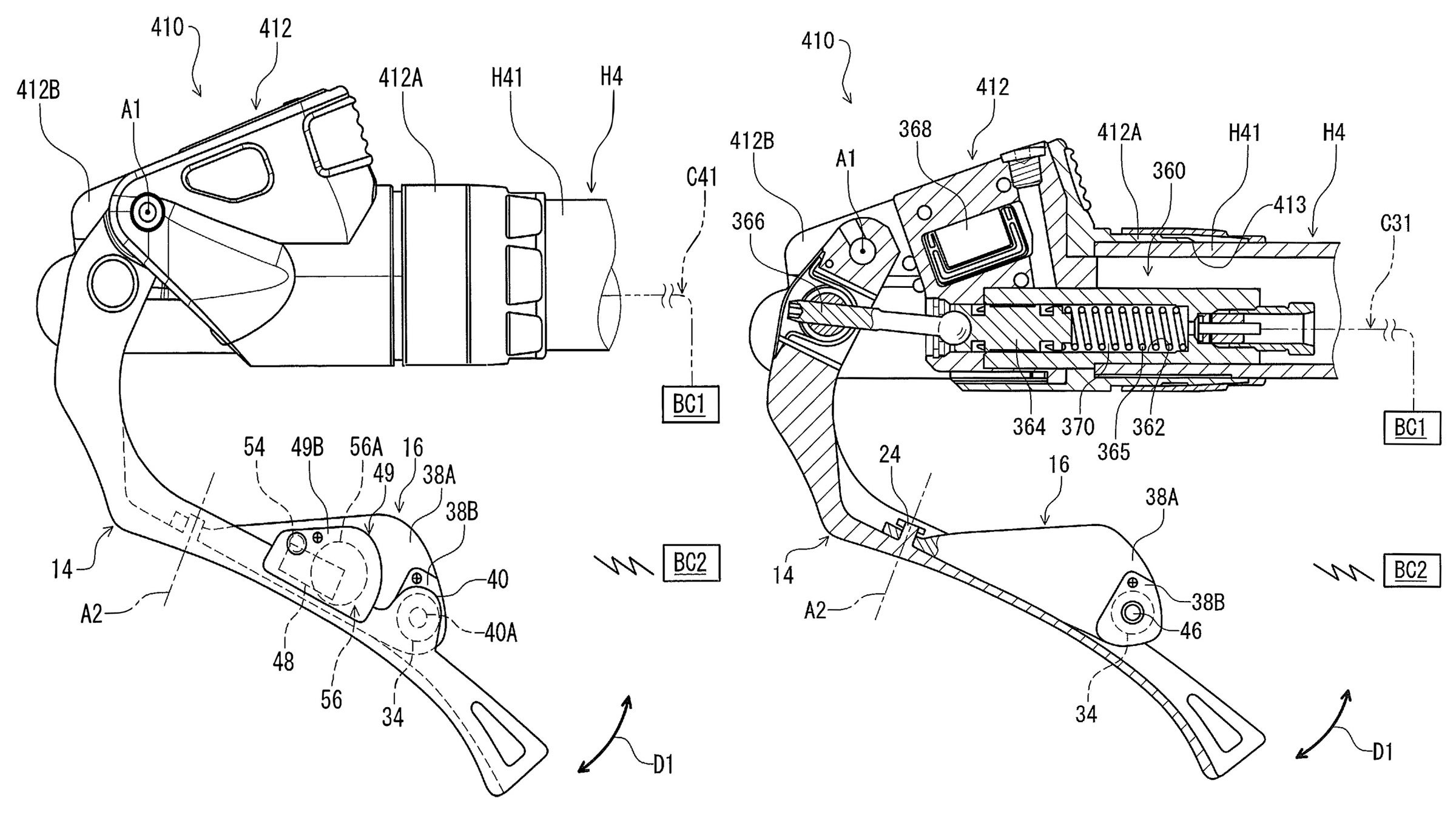
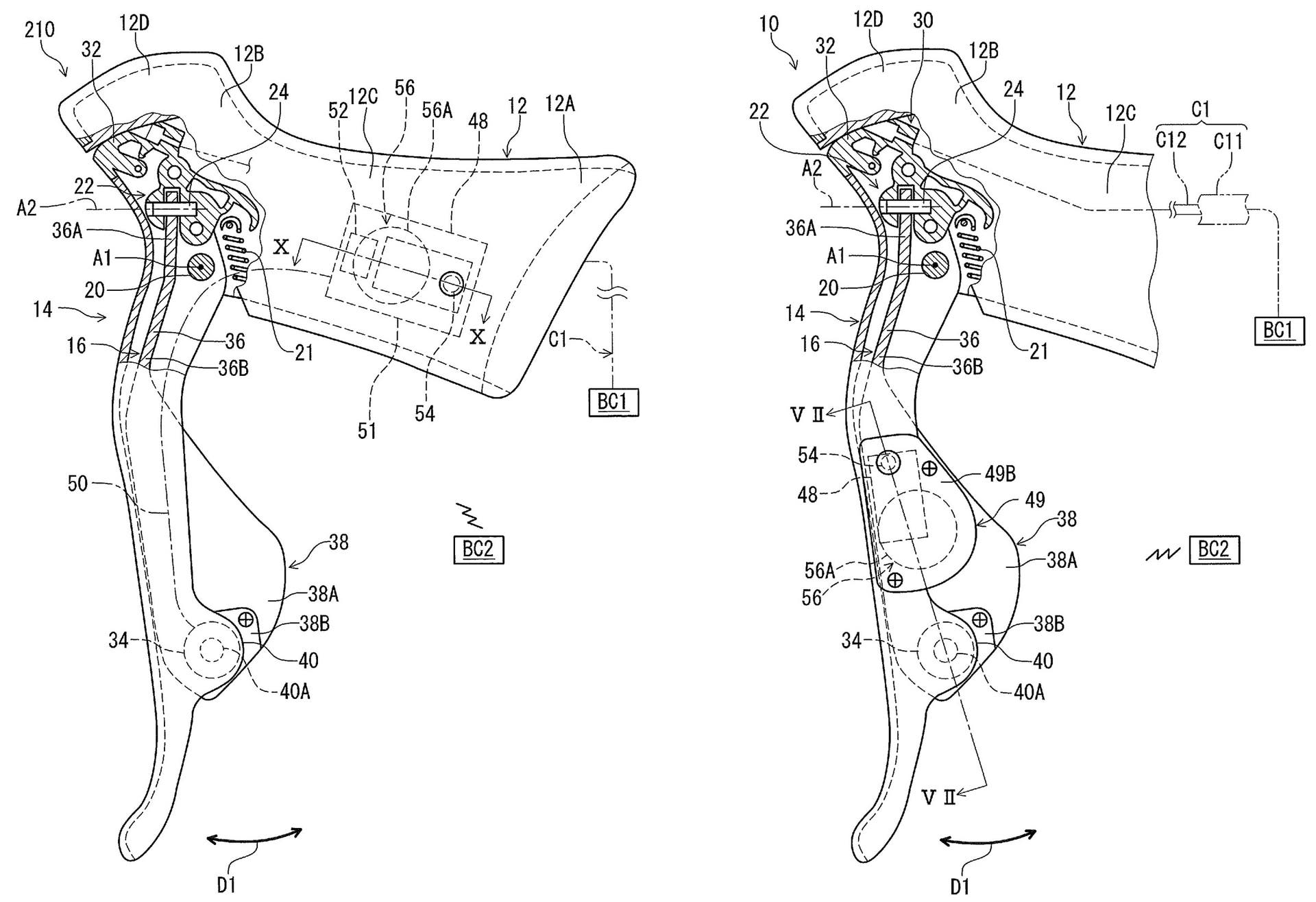
SRAM announced their own wireless 12-speed shifters way back in the pre-pandemic utopia of early 2019 with the eTap AXS Red series. A few months later, they expanded the line to a more affordable Force version, but they’ve notably been a little behind when it comes to brake lever/shifter integration. SRAM’s solution has been to use little “Blips” that can be wrapped into base bar tape near the brake levers. While this is not the worst modular use, it still offends some triathletes’ sense of full-blown integration. According to their own patents, the shift button would be included in Shimano’s Dura-Ace Di2 wireless 12-speed shifters’ brake lever body—much like their current Di2 setups.

It seems Shimano is still experimenting with the Dura-Ace design and layout. There are several locations for coin cell batteries noted in the drawings, for example. One is in the shifter paddle and another is under the hood of the road versions (part 56A in both sketches above). There’s even an option for eliminating shifter batteries altogether, using one of the shift paddles to generate power for the transmitter.

Speaking of batteries, it appears Shimano has once again masked its final intentions for Dura-Ace with various iterations for derailleur batteries. For perspective, SRAM’s eTap system uses dedicated batteries on each derailleur, which can be easily removed and swapped. It’s convenient for charging, but more importantly, you can swap batteries should one of them die mid-ride.
Shimano appears to have iterations that lend a dedicated battery to each derailleur in the patent. But other details in the patents reveal that there may simply be one dedicated battery to power both derailleurs — more akin to the current Di2 system that uses a single battery to power the entire system.
It’s not clear what wireless protocol Shimano’s Dura-Ace Di2 wireless 12-speed shifter system will use. (SRAM developed its own wireless protocol called Airea for its eTap ecosystem.) Nor is it clear what kind of driver body the new system will use, though it’s likely with the leap to 12-speed, Shimano will use its Microspline driver. That of course presents some problems for backward-compatibility. There are tons of gearing options mentioned in the cassette patents, and a 9-tooth cog is a possibility.
Of course, Shimano is tightlipped on its plans, and a spokesperson told Velonews “Unfortunately, Shimano does not comment on future technologies or products. Sorry we can’t share anything.”