
HED's U.S. Patent No. 8,888,195 has been licensed by Specialized, allowing the company to use HED's wide rim design. Photo: Caley Fretz | VeloNews.com
As part of a partnership announced Tuesday, Specialized will license a key rim patent from HED that improves aerodynamics and handling in crosswinds.
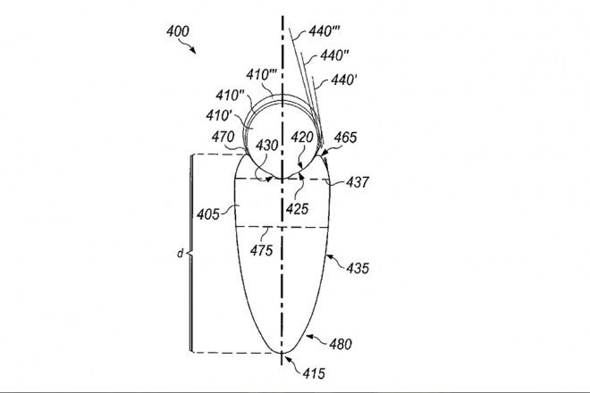
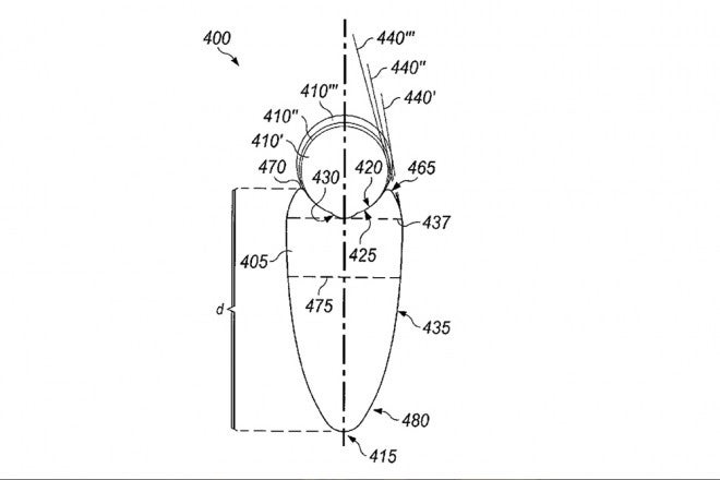
The patent is centered around two primary design features: a rim that is wider than the tire, and a brake track that angles inward, toward the tire, creating a tangential line off the tire.
The design improves aerodynamics in crosswinds by increasing the stall angle of the rim, or the yaw angle at which drag increases dramatically. It is the underlying patent upon which HED’s carbon rims have been built for half a decade, and is one of a number of patents held either by HED or competitor Zipp that make it difficult for other manufacturers to build wheels that offer both low-drag and controlled crosswind performance.
The technology is likely to be incorporated into Specialized’s wheel brand Roval quite soon, as the license began last summer. “The license includes a three year term, which began on July 1, 2015,” Katie Sue Gruener, Specialized’s head of global PR, told VeloNews.
A statement described the relationship between Specialized and HED as an “alliance,” and suggested that the licensure of HED’s wide rim patent may be just the start.
HED has licensed its technology to major brands before, including Specialized’s major competitor Trek. For years, the carbon fiber wheels built by Trek subsidiary Bontrager used HED rim shapes and carried a small HED sticker.